EC Paediatrics

Impact Factor: 2.124

image

Journal Info

Journal : EC Paediatrics
Current Issue : Volume 12 Issue 12 - 2023
Publication Date : December 01, 2023
Frequency : Monthly
Language : English
Type of Publication : Online
Review Format : Double Blinded Peer Review
Email : paediatrics@ecronicon.uk


Volume 12 Issue 12

Guest Editorial

Pediatric Rheumatology: To Broader Horizons

Djohra Hadef. 12(12): 01-02.

Research Article

Evaluation of Early Postoperative Complications with or without Trans-Anastomotic Tube Following Primary Trans-Anal Pull-Through for Hirschsprung Disease

Umme Habiba Dilshad Munmun, KM Didarul Islam, Md Ruhul Amin, Fatima-Tul- Jannat, Major Jannatul Nayeema Tonny and Shariful Alam. 12(12): 01-09.

Case Report

Hemophilic Neonate with Massive Subdural Hematoma Rescued Using Life-Saving Management: A Case Report

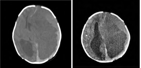
Binoy Vadakke Nellissery, Chelladurai Pandian Hariharan, P Babu Balachandar, Sai Srinivas Bhagavatula, Sandeep Kuchi and Geevarghese Nithin Panicker. 12(12): 01-04.

Case Report

A Toddler Survived a Complex Multi-Systemic Infantile Presentation of COG6-CDG

Hossam Eldeen Hassan, Ayman Elhomoudi, Abdullah Alfalah, Abdurahim Abdellahi, Maryam Altassan and Ruqaiah Altassan. 12(12): 01-04.

Case Report

Nicolau’s Syndrome Following Metamizole and Penicillin Injection: A Case Report

Zuñiga Hernández ML, Dzul Pech F, Vidal Vidal JA, Urbina Hernández JF, Soancatl Rodríguez LG, Soancatl Rodríguez DG, Porras Aguilar E , Martínez Tovilla Y and Lara Hernández FC. 12(12): 01-09.

Case Report

Providencia rettgeri Meningitis: A Case Report

Wajiha Khan, Hina Bai and Syeda Ismat Bukhari. 12(12): 01-04.

Clinical Image

14 Years Old Child, without Antecedent Who Presents Since 2 Months, a Right Maxillary Formation Having Increased in Volume with Fatigue, Bone Pain and Diplopia

S Habib Chorfa, N Amsiguine, S Graini, S Bahha, N Allali, El Haddad S and L Chat. 12(12): 01-03.

Case Report

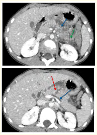
Firm Pancreatic Trauma in Children: About a Case

Nourrelhouda Bahlouli, Fatima Chait, Khadija Laasri, Nazik Allali, Siham El Haddad and Latifa Chat. 12(12): 01-05.